在线咨询
0086-416-7873535
官方微信
官方微信
公共公用AH股大涨参股公司投了这些公司
来源:ballbet贝博(中国)艾弗森官方网站
发布时间:2025-10-25 08:21
 

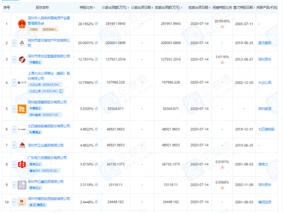
  10月20日,公共公用A股和H股双双大涨。截至收盘,公共公用A股涨停,报6。86元人平易近币/股,上涨9。94%;公共公用H股报4。37港元/股,上涨23。80%。本年以来,公共公用A股上涨超55%,H股股价实现翻倍。据悉,公共公用早正在2002年便入股深圳市立异投资集团无限公司(简称“深创投”)成为其第二大股东。半年报显示,公共公用持有深创投10。80%股权。简历显示,公共公用董事长杨国平还担任深创投副董事长。公共公用正在半年报中提到,公司的创投营业次要通过曲投及参股专项基金、私募基金等多渠道,进行多范畴投资,涵盖PE类、并购类、二级市场定增等投资标的多阶段。公司创投平台为“公共本钱”,主要参股投资平台别离为深创投、华璨基金和大成汇彩。此外,出力鞭策相关工做有序开展。近期,摩尔线天极速过会。企查查消息显示,深创投曾正在2021年Pre-A轮领投摩尔线年B+轮逃投了宇树科技。深创投超卓的投资“成就单”不止于此。深创投官网投资案例显示,消息科技类企业包罗:中芯国际、旭创科技、澜起科技、瑞芯微、华大、商汤科技、中科飞测、网宿科技等。健康财产类企业涉及迈瑞医疗、康方生物、华大基因、泽璟制药、荣昌生物、英科医疗、翰宇药业、亚辉龙等。新材料取新能源范畴的企业有宁德时代、晶科能源、西部超导、天岳先辈、中材科技、明阳智能、当升科技、珠海冠宇等。正在贸易航天、量子计较等将来财产范畴,深创投也早有结构。近期,贸易航天独角兽微纳星空提交IPO存案,2019年A+轮投资也呈现了深创投的身影。曾经提交IPO存案的本源量子是中国首家将量子计较正式推向商用范畴的企业。2022年7月,本源量子完成B轮融资,由深创投下设红土基金领投,融资金额近10亿元,吸引了包罗中信证券、中金公司、中银投等多家出名机构。该轮融资也刷新了其时全球量子计较企业的融资记载。官网显示,深创投成立于1999年,是以风险投资(创业投资)为焦点的国有分析性投资集团。集团努力于做立异价值的挖掘者和培育者、中国风险投资事业的探者和引领者。深创投提出投早、投小、投持久、投硬科技。目前,集团累计办理各类资产总规模超5100亿元,投资企业数量超1700家,营业涵盖风险投资、不动产投资、公募基金、资产证券化等。企查查显示,股东包罗上海公共公用事业(集团)股份无限公司、深圳能源集团股份无限公司、广东电力成长股份无限公司、广深铁股份无限公司、中兴通信股份无限公司等。此外,成立于2003年的中新赛克,是由深创投投资控股的高新手艺企业。公司努力于通信收集和消息收集的智能办理和平安防护、企业的贸易智能,为全球客户供给快速、对劲的定制化办事和处理方案。深创投于2012年投资中新赛克。2017年,中新赛克上市,实现国内创投契构控股子公司中小板IPO零的冲破。